kurierzy, paczkomaty
z największą starannością
online kartą lub przelewem
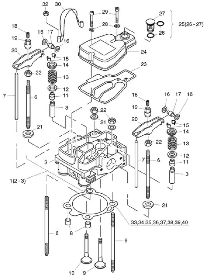
HATZ 1B20 laska popychacza zaworu 05054000
Opis
Opis przedmiotu:
- Producent - niemiecka firma HATZ
- Numer katalogowy: 05054000
- Pozycja nr 7 z karty katalogowej (drugie zdjęcie)
- Zastosowanie: HATZ 1B20
- Część oryginalna, fabrycznie nowa.
- Cena za jedną sztukę.




