kurierzy, paczkomaty
z największą starannością
online kartą lub przelewem
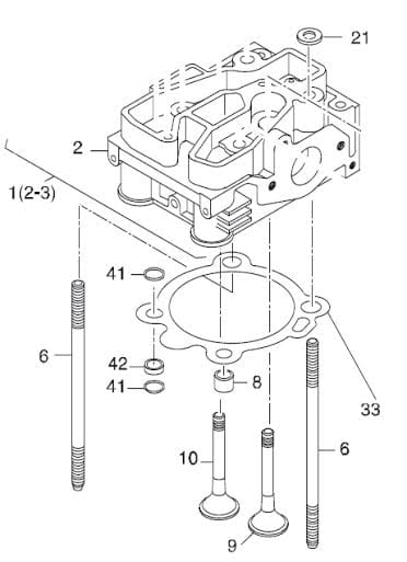
HATZ 1B30 zawór wydechowy 05093100
Opis
Opis przedmiotu:
- Producent - niemiecka firma HATZ
- Numer katalogowy: 05093100
- Pozycja nr 10 z karty katalogowej (drugie zdjęcie)
- Zastosowanie: silniki HATZ 1B30
- Część oryginalna, fabrycznie nowa.




