kurierzy, paczkomaty
z największą starannością
online kartą lub przelewem
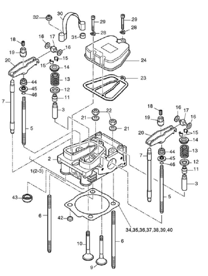
HATZ 1B40 1B50 zawór wydechowy 05145201
Opis
Opis przedmiotu:
- Producent - niemiecka firma HATZ
- Numer katalogowy:05145201
- Pozycja nr 10 z karty katalogowej (drugie zdjęcie)
- Zastosowanie: silniki HATZ 1B40 1B50
- Część oryginalna, fabrycznie nowa.




