kurierzy, paczkomaty
z największą starannością
online kartą lub przelewem
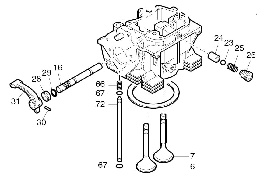
HATZ 1D41 1D81 o-ring wałka dźwigienek 40022401
Opis
Opis przedmiotu:
- Producent - niemiecka firma HATZ.
- Numer katalogowy: 40022401
- Pozycja nr 29 z karty katalogowej (drugie zdjęcie)
- Zastosowanie: silnik HATZ 1D41 1D81
- O-ring oryginalny, fabrycznie nowy.




