kurierzy, paczkomaty
z największą starannością
online kartą lub przelewem
HONDA GCV160 sprężyna regulatora obrotów cienka 16562-ZM0-000
Opis
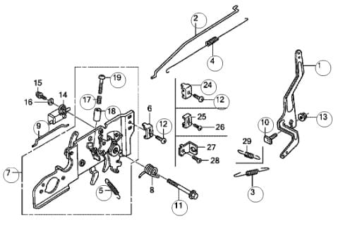
Opis przedmiotu:
- Producent - HONDA.
- Numer katalogowy: 16562-ZM0-000
- Pozycja nr 4 z karty katalogowej (drugie zdjęcie)
- Zastosowanie: silniki HONDA GCV160 GCV190
- Sprężyna oryginalna, fabrycznie nowa.




