kurierzy, paczkomaty
z największą starannością
online kartą lub przelewem
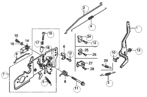
HONDA GCV160 sprężyna regulatora obrotów gruba 16561-Z1L-870
Opis
Opis przedmiotu:
- Producent - renomowana japońska firma HONDA
- Numer katalogowy: 16561-Z1L-870
- Pozycja nr 3 z karty katalogowej (drugie zdjęcie)
- Wymiary wg trzeciego obrazka: L~74,2mm; D~6,6mm; Lk~17mm, d~0,8mm
- Zastosowanie: silniki GCV160
- Sprężyna oryginalna, fabrycznie nowa.




