kurierzy, paczkomaty
z największą starannością
online kartą lub przelewem
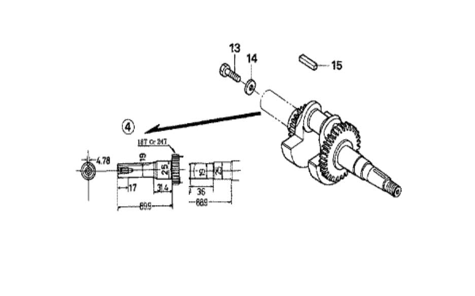
HONDA GX160 wał korbowy Q 3/4" (19,05mm) 13310-ZE1-601
Opis
Opis przedmiotu:
- Producent: HONDA
- Numer katalogowy: 13310-ZE1-601
- Pozycja nr 4 z karty katalogowej (drugie zdjęcie)
- Zastosowanie: silniki HONDA GX160 z wyjściem wału walcowym Q, czyli 3/4" (~19,05mm)
- Wał oryginalny, fabrycznie nowy.




