kurierzy, paczkomaty
z największą starannością
online kartą lub przelewem
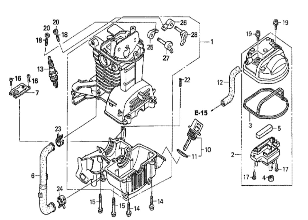
HONDA GX25 GX35 świeca zapłonowa CMR5H
Opis
Opis przedmiotu:
- Producent: NGK
- Pozycja nr 13 z karty katalogowej (drugie zdjęcie)
- Zastosowanie: silniki HONDA serii GX25 GX35
- Świeca oryginalna, fabrycznie nowa.




