kurierzy, paczkomaty
z największą starannością
online kartą lub przelewem
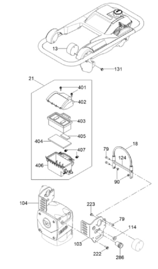
WACKER BS50-2 BS60-2 filtr powietrza 5200003062
Opis
Opis przedmiotu:
- Producent - niemiecka firma WACKER
- Numer katalogowy: 5200003062
- Filtr wstępny nr 5200007044 dostępny na innej aukcji
- Pozycja nr 403 z karty katalogowej (drugie zdjęcie)
- Zastosowanie: ubijaki benzynowe WACKER serii BS50-2 BS60-2 BS70-2 BS50-2i BS60-2i BS70-2i BS50-4 BS60-4 BS70-4 BS65-V najnowszego typu
- Filtr oryginalny, fabrycznie nowy.




