kurierzy, paczkomaty
z największą starannością
online kartą lub przelewem
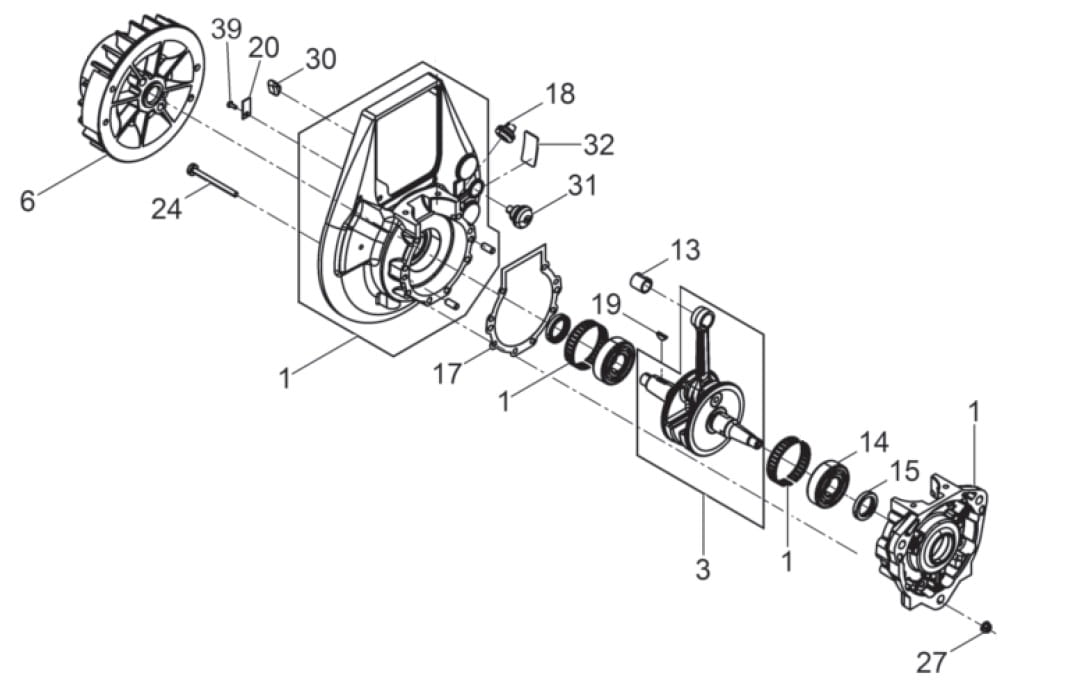
WACKER WM80 uszczelniacz wału 20x30x5 5100006052
Opis
- Numer katalogowy oryginału: 5100006052
- Pozycja nr 15 z karty katalogowej (drugie zdjęcie)
- Rozmiar: 20x30x5 - - stosowany w ubijakach nowego typu z łożyskami wału w pierścieniach osadczych
- Zastosowanie: ubijaki WACKER z silnikiem WM80, oraz młoty serii BH
- Część fabrycznie nowa.




